High Quality Manual

Clark 280V Transmission maintenance & service manual - PDF Download

In Stock

Regular price $19.90 USD $59.90 USD


/
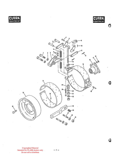
Clark 280V Transmission maintenance & service manual - Download PDF TABLE OF CONTENTS 1 Shift Rod Cover Screw2 Shift Rod Cover Soew Lodewasher3 Coneral Cover (Stamped version)4 Control Cover Gesket5...
-1