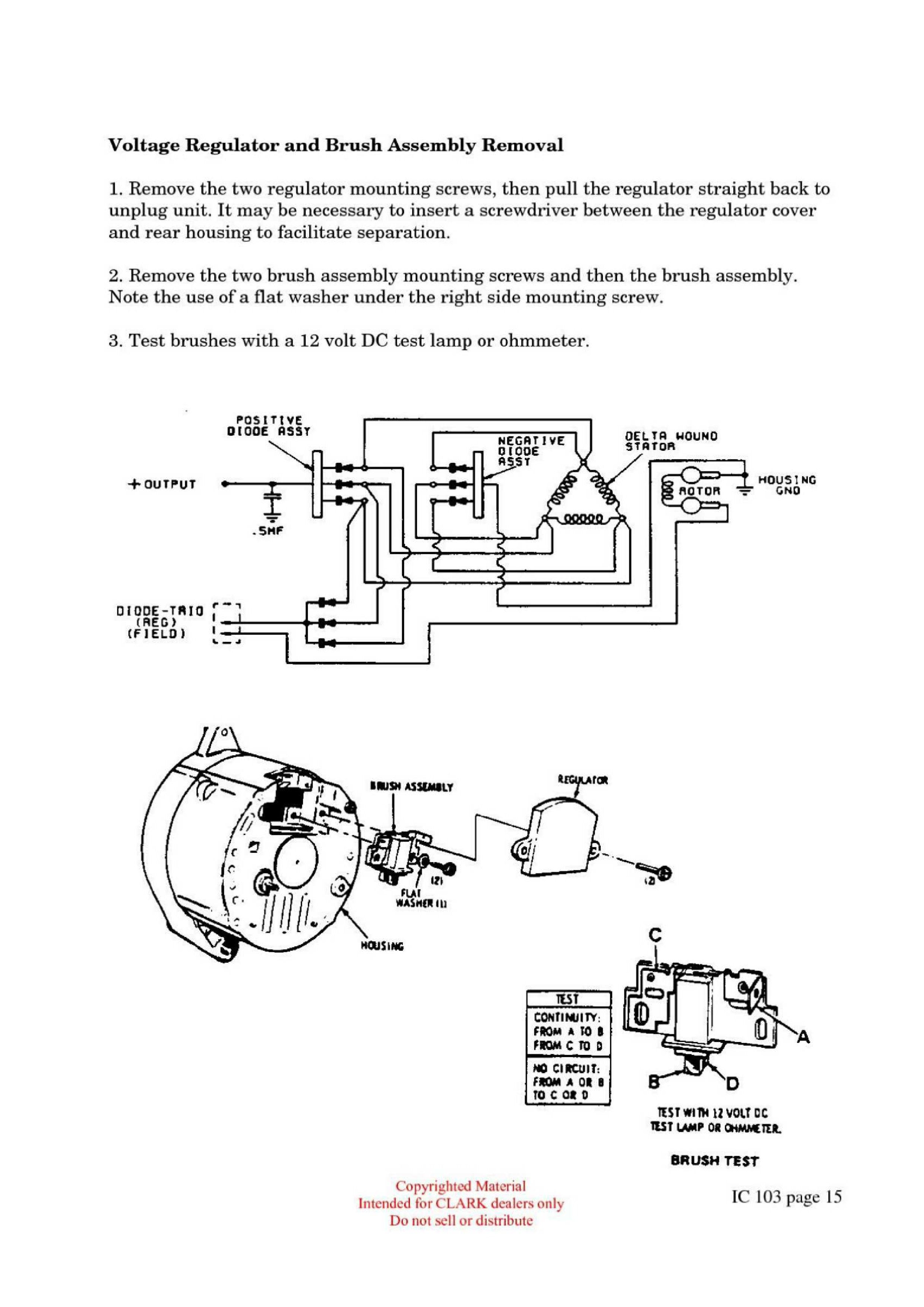
PRODUCT DETAILS
Get Instant Clark IC-103 Forklift Electrical Systems IC Lift Trucks Technical Training Manual - Download PDF
TABLE OF CONTENTS
About this class
About safety
Section 1. The Battery,
Troubleshooting the Standard Battery
Specific Gravity Test
Three Minute Charge Test
Battery Load Test
Jump Starting with Auxiliary Battery
Troubleshooting the Maintenance-Free Battery
Section 2. The Charging System
Charging Circuit System Components
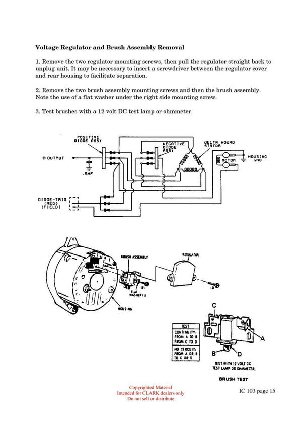
Delco 10-SI Alternator
System Description and Maintenance
Delco 10-S1 Parta Breakdown
Motorola 9DB Alternator
Motorol Parts Breakdown
Alternator Maintenance Precautions
Alternator Inspection.
Alternator Drive (Fan) Belt
Fan Belt Tension Specification
Troubleshooting the Alternator
A. Abnormal Charge Indicator Lamp Operation
B. Abnormal Charging System Operation
Charging System Schematics
Troubleshooting Guide
Section 3. The Ignition System
Ignition Circuit Electronic Components
Ignition Circuit Point Components
Ignition Circuit Secondary System
The Standard Ignition System
The Distributor
Contact Points and Condensers
Distributor Caps
Distributar Rotar
Distributor Lubrication
The Ignition Coil
The Ignition Resistor
The Ignition Switch
The Spark Plugs
The Wiring
Standard Ignition Maintenance
The High Energy Ignition System
The Distributor
The Ignitor
Distributor Parts Breakdown
Pages - 72
Instant Download – After Payment
Lifetime PDF And Access To Download (By Request)
Compatible With Windows, Mac, Ios, Android And Other Systems
Searchable Text And Built-in Index For Instant Information Search
Bookmarks
Printable – Pages Or Entire Manual
Zoomable – Detailed Exploded Diagrams, Picture.


