PRODUCT DETAILS
Get Instant Clark CSM 7 10 15 (SPM-627A) Forklift Service and Parts Manual - Download PDF
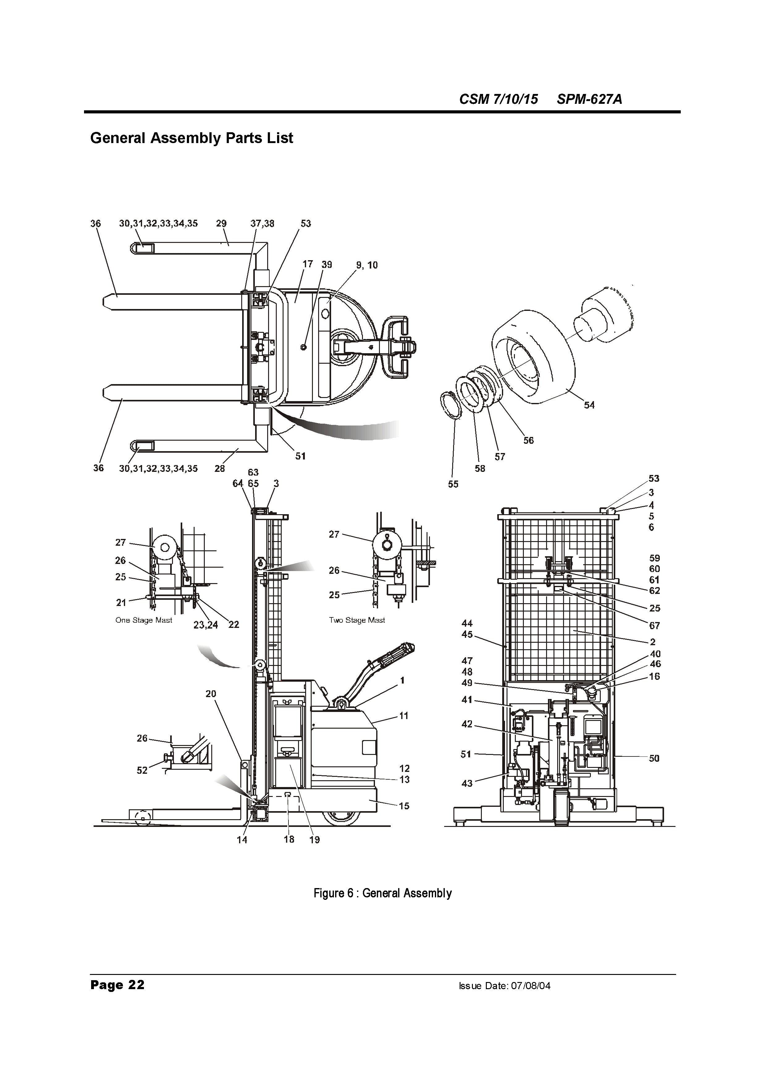
TABLE OF CONTENTS
1. Receipt Inspection
2. Pre-Operation Instructions
3. Safety Information
4. Operating Instructions
5. Control System
6. Battery Discharge Indicator (BDI) - Operation
7. Drive Unit & Brake
8. Mast and Carriage
9. Hydraulic Adjustments
10. Planned Maintenance
11. Trouble Shooting Guide
12. CSM - Parts Listings
13. Electrical System
Pages - 56
Instant Download – After Payment
Lifetime PDF And Access To Download (By Request)
Compatible With Windows, Mac, Ios, Android And Other Systems
Searchable Text And Built-in Index For Instant Information Search
Bookmarks
Printable – Pages Or Entire Manual
Zoomable – Detailed Exploded Diagrams, Picture.


