PRODUCT DETAILS
CATERPILLAR 3306 GEN SET ENGINE SERVICE REPAIR MANUAL 7HB
It is Complete Original Factory for Caterpillar 3306 GEN SET ENGINE. Covers all the service and repair information about Caterpillar 3306 GEN SET ENGINE. The information in this manual covers everything you need to know when you want to service and repair Caterpillar 3306 GEN SET ENGINE.
Models Covered:
Caterpillar 3306 GEN SET ENGINE
Manual Cover:
Caterpillar 3306 GEN SET ENGINE General Service Information
Caterpillar 3306 GEN SET ENGINE Disassembly and Assembly
Caterpillar 3306 GEN SET ENGINE Specifications
Caterpillar 3306 GEN SET ENGINE System Operation
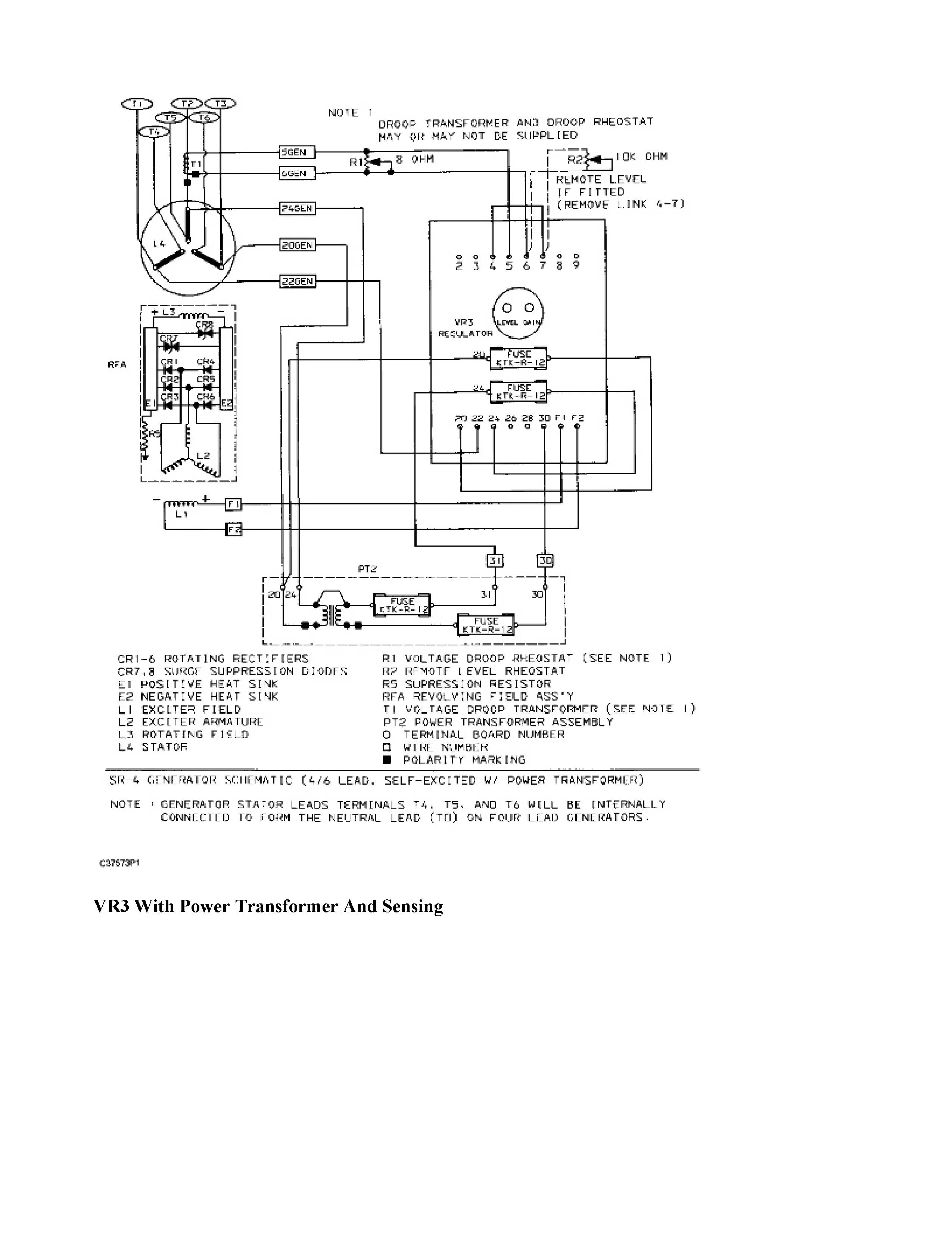
Caterpillar 3306 GEN SET ENGINE Schematic
Caterpillar 3306 GEN SET ENGINE Testing and Adjusting
Caterpillar 3306 GEN SET ENGINE Troubleshooting
Caterpillar 3306 GEN SET ENGINE Torque Specifications
Instant Download – You Will Receive The Link For Download within 4-12 hours On Your Email Receive After Payment.
Lifetime Pdf And Access To Download (By Request)
Compatible With Windows, Mac, Ios, Android And Other Systems
Searchable Text And Built-in Index For Instant Information Search
Bookmarks
Printable – Pages Or Entire Manual
Zoomable – Detailed Exploded Diagrams, Picture.


