High Quality Manual

Clark IC-103 Forklift Electrical Systems IC Lift Trucks Technical Training Manual - PDF Download

In Stock

Regular price $19.90 USD $59.90 USD


/
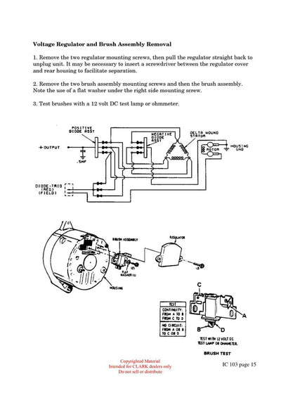
Get Instant Clark IC-103 Forklift Electrical Systems IC Lift Trucks Technical Training Manual - Download PDF TABLE OF CONTENTS  About this classAbout safetySection 1. The Battery,Troubleshooting the Standard BatterySpecific Gravity...
0